Введение
Прошпект: информация для пользователя
Бувидал 8мг раствор для инъекцийпролонгированного действия
Бувидал 16мг раствор для инъекцийпролонгированного действия
Бувидал 24мг раствор для инъекцийпролонгированного действия
Бувидал 32мг раствор для инъекцийпролонгированного действия
Бувидал 64мг раствор для инъекцийпролонгированного действия
Бувидал 96мг раствор для инъекцийпролонгированного действия
Бувидал 128мг раствор для инъекцийпролонгированного действия
Бувидал 160мг раствор для инъекцийпролонгированного действия
бупренорфин
Прочитайте внимательно весь прошпект перед началом использования этого лекарства, поскольку он содержит важную информацию для вас.
- Сохраните этот прошпект, поскольку вам может потребоваться прочитать его снова.
- Если у вас есть какие-либо вопросы, проконсультируйтесь с вашим врачом, фармацевтом или медсестрой.
- Если вы испытываете побочные эффекты, проконсультируйтесь с вашим врачом, фармацевтом или медсестрой, даже если это побочные эффекты, которые не указаны в этом прошпекте. См. раздел 4.
Содержание прошпекта
- Что такое Бувидал и для чего он используется
- Что вам нужно знать перед началом приема Бувидала
- Как вводится Бувидал
- Возможные побочные эффекты
- Хранение Бувидала
- Содержание упаковки и дополнительная информация
1. Что такое Бувидал и для чего он используется
Бувидал содержит активное вещество бупренорфин, которое является типом опиоидного лекарства. Он используется для лечения зависимости от опиоидов у пациентов, которые также получают медицинскую, социальную и психологическую поддержку.
Бувидал показан взрослым и подросткам в возрасте 16 лет и старше.
2. Что вам нужно знать перед началом приема Бувидала
Не используйте Бувидал:
- если вы аллергичны к бупренорфину или любому другому компоненту этого лекарства (указанному в разделе 6)
- если у вас есть тяжелые проблемы с дыханием
- если у вас есть тяжелые проблемы с печенью
- если у вас есть отравление алкоголем или у вас есть дрожь, потливость, тревога, путаница или галлюцинации, вызванные алкоголем
Предостережения и меры предосторожности
Проконсультируйтесь с вашим врачом перед использованием Бувидала, если у вас есть:
- астма или другие проблемы с дыханием
- любая болезнь печени, такая как гепатит
- тяжелая почечная недостаточность
- определенные проблемы с сердечным ритмом (синдром длинного QT или удлиненный интервал QT)
- низкое кровяное давление
- вы недавно получили травму головы или болезнь мозга
- мочевое расстройство (особенно связанное с увеличением размера предстательной железы у мужчин)
- проблемы с щитовидной железой
- кортикостерoidное расстройство (например, болезнь Аддисона)
- проблемы с желчным пузырем
- депрессия или другие заболевания, которые лечатся антидепрессантами. Использование этих лекарств вместе с Бувидалом может вызвать серотониновый синдром, потенциально смертельное заболевание (см. "Другие лекарства и Бувидал").
- если вы когда-либо имели аллергическую реакцию на латекс
Важные аспекты, которые следует учитывать
- Проблемы с дыханием:Некоторые люди умерли из-за слишком медленного или поверхностного дыхания, вызванного приемом бупренорфина с другими депрессорами центральной нервной системы (веществами, которые замедляют некоторые мозговые активности), такими как бензодиазепины, алкоголь или другие опиоиды.
- Сонливость:Это лекарство может вызвать сонливость, особенно когда оно используется с алкоголем или другими депрессорами центральной нервной системы (веществами, которые замедляют некоторые мозговые активности), такими как бензодиазепины, другие лекарства, которые вызывают сонливость, прегабалин или габапентин.
- Зависимость:Это лекарство может вызвать зависимость.
- Повреждение печени:Может произойти повреждение печени при использовании бупренорфина, особенно при неправильном использовании. Это также может произойти из-за вирусных инфекций (хронический гепатит C), злоупотребления алкоголем, анорексии (расстройства питания) или использования других лекарств, которые могут повредить печень. Ваш врач может попросить вас пройти анализ крови с регулярным интервалом для контроля состояния вашей печени. Сообщите вашему врачу, если у вас есть проблемы с печенью перед началом лечения Бувидалом.
- Симптомы абстиненции:Это лекарство может вызвать симптомы абстиненции, если его принимать менее 6 часов после приема опиоида короткого действия (например, морфина, героина) или менее 24 часов после приема опиоида длительного действия, такого как метадон.
- Кровяное давление:Это лекарство может вызвать внезапное снижение вашего кровяного давления, что может привести к головокружению, если вы встанете слишком быстро, когда сидите или лежите.
- Диагностика независимых медицинских состояний:Это лекарство может маскировать боль, что может затруднить диагностику некоторых заболеваний. Не забудьте сообщить вашему врачу, что вы принимаете это лекарство.
- Расстройства дыхания во сне:Бувидал может вызвать расстройства дыхания во сне, такие как апноэ во сне (затруднение дыхания во сне) и гипоксемия во сне (низкий уровень кислорода в крови). Симптомы могут включать затруднение дыхания во сне, ночные пробуждения из-за затруднения дыхания, трудности с поддержанием сна или чрезмерную сонливость днем. Свяжитесь с вашим врачом, если вы или кто-то другой заметили эти симптомы. Ваш врач может рассмотреть возможность снижения дозы.
Толерантность, зависимость и аддикция
Это лекарство содержит бупренорфин, опиоидное вещество. Повторное использование опиоидов может снизить эффективность лекарства (ваш организм привыкает к лекарству, это то, что называется толерантностью). Повторное использование бупренорфина также может вызвать зависимость, злоупотребление и аддикцию, что может привести к потенциально смертельной передозировке.
Зависимость или аддикция могут заставить вас чувствовать, что вы больше не контролируете количество лекарства, которое вам нужно принимать, или как часто вы должны его принимать.
Риск зависимости или аддикции варьируется от человека к человеку. Вы можете иметь более высокий риск зависимости или аддикции к бупренорфину, если:
- У вас или у члена вашей семьи есть история злоупотребления или зависимости от алкоголя, рецептурных лекарств или незаконных веществ ("аддикция").
- Вы курите.
- У вас когда-либо были проблемы с настроением (депрессия, тревога или расстройство личности) или вы получали лечение от психиатра за другие психические заболевания.
Если вы заметили какие-либо из следующих признаков, принимая бупренорфин, это может быть признаком того, что вы стали зависимыми или аддиктивными:
- Вам нужно принимать лекарство дольше, чем рекомендовано вашим врачом.
- Вам нужно принимать больше доз, чем рекомендовано.
- Вы используете лекарство по другим причинам, чем те, которые назначены, например, "чтобы успокоиться" или "чтобы помочь вам заснуть".
- Вы сделали повторные попытки и безуспешно прекратили или контролировали использование лекарства.
- Вы не чувствуете себя хорошо, когда перестаете принимать лекарство, и чувствуете себя лучше, когда снова начинаете его принимать ("симптомы абстиненции").
Если вы заметили какие-либо из этих признаков, поговорите с вашим врачом, чтобы обсудить наиболее подходящую терапевтическую стратегию в вашем случае, включая то, когда следует прекратить использование лекарства и как это можно сделать безопасно (см. раздел 3 "Если вы прекратите лечение Бувидалом").
Дети и подростки
Бувидал не должен использоваться у детей младше 16 лет. Ваш врач будет более внимательно следить за вами, если вы являетесь подростком (16-17 лет).
Другие лекарства и Бувидал
Сообщите вашему врачу, если вы используете, недавно использовали или можете использовать любое другое лекарство.
Некоторые лекарства могут увеличить побочные эффекты Бувидала и могут вызвать очень серьезные реакции.
Особенно важно сообщить вашему врачу, если вы принимаете:
- бензодиазепины(используемые для лечения тревоги или расстройств сна). Прием высоких доз бензодиазепина вместе с Бувидалом может привести к смерти, поскольку оба лекарства могут замедлить дыхание и сделать его более поверхностным (депрессия дыхания). Если вам нужен бензодиазепин, ваш врач назначит правильную дозу.
- габапентинoidы(габапентин или прегабалин)(используемые для лечения эпилепсии или невропатической боли). Прием высоких доз габапентинoида может привести к смерти, поскольку оба лекарства могут замедлить дыхание и сделать его более поверхностным (депрессия дыхания). Вы должны принимать дозу, которую назначил ваш врач.
- алкоголь или лекарства, содержащие алкоголь. Алкоголь может усугубить седативный эффект этого лекарства.
- другие лекарства, которые могут вызвать сонливость, используемые для лечения заболеваний, таких как тревога, бессонница, судороги (припадки) и боль. Эти лекарства, когда они принимаются вместе с Бувидалом, могут замедлить некоторые мозговые активности и снизить ваш уровень бдительности и способность управлять транспортными средствами и использовать машины правильно.
Примеры лекарств, которые могут вызвать сонливость или сделать вас менее бдительным, включают:
- Другие опиоиды, такие как метадон, определенные обезболивающие и противокашлевые средства. Эти лекарства также могут увеличить риск передозировки опиоидами
- антидепрессанты (используемые для лечения депрессии)
- седативные антигистамины (используемые для лечения аллергических реакций)
- барбитураты (используемые для индукции сна или седации)
- определенные анксиолитические средства (используемые для лечения тревожных расстройств)
- антипсихотики (используемые для лечения психиатрических расстройств, таких как шизофрения)
- клонидин (используемый для лечения гипертонии)
- обезболивающие опиоиды. Возможно, что эти лекарства не будут работать правильно, если их принимать вместе с Бувидалом, и могут увеличить риск передозировки.
- налтрексон и налмефен(используемые для лечения аддикций) поскольку они также могут предотвратить правильное действие Бувидала. Вы не должны принимать их одновременно с этим лекарством.
- определенные антиретровирусные препараты(используемые для лечения ВИЧ-инфекции), такие как ритонавир, нельфинавир, индинавир, поскольку они могут увеличить эффекты этого лекарства.
- определенные противогрибковые препараты(используемые для лечения грибковых инфекций), такие как кетоконазол, итраконазол, поскольку они могут увеличить эффекты этого лекарства.
- макролидные антибиотики(используемые для лечения бактериальных инфекций), такие как кларитромицин и эритромицин, поскольку они могут увеличить эффекты этого лекарства.
- определенные противоэпилептические препараты(используемые для лечения эпилепсии), такие как фенобарбитал, карбамазепин и фенитоин, поскольку они могут снизить эффект Бувидала.
- рифампицин(используемый для лечения туберкулеза). Рифампицин может снизить эффект Бувидала.
- ингибиторы моноаминоксидазы(используемые для лечения депрессии), такие как фенелзин, изокарбоксазид, ипрониязид и транилципромин, поскольку они могут увеличить эффекты этого лекарства.
- антидепрессанты, такие как моклобемид, транилципромин, циталопрам, эсциталопрам, флуоксетин, флуvoxамин, пароксетин, сертралин, дулоксетин, венлафаксин, амитриптилин, доксепин или тримипрамин. Эти лекарства могут взаимодействовать с Бувидалом, и вы можете испытывать симптомы, такие как мышечные сокращения, агитация, галлюцинации, кома, чрезмерное потоотделение, дрожь, усиление рефлексов, повышение мышечного тонуса, температура тела выше 38 °C. Свяжитесь с вашим врачом, если вы испытываете эти симптомы.
- лекарства, используемые для лечения аллергии и для лечения рвоты или тошноты во время путешествий(антигистамины или противорвотные средства).
- миорелаксанты
- лекарства для лечения болезни Паркинсона
Использование Бувидала с алкоголем
Не принимайте алкоголь во время использования Бувидала (см. раздел 2 Предостережения и меры предосторожности). Прием алкоголя с этим лекарством может увеличить сонливость и может увеличить риск развития проблем с дыханием.
Беременность и лактация
Если вы беременны или в период лактации, считаете, что можете быть беременной или планируете стать беременной, проконсультируйтесь с вашим врачом перед использованием этого лекарства. Неизвестны риски использования Бувидала у беременных женщин. Ваш врач поможет вам решить, следует ли продолжать принимать лекарство во время беременности.
Прием этого лекарства во время беременности может вызвать симптомы абстиненции, включая проблемы с дыханием у вашего новорожденного ребенка. Это может произойти между несколькими часами и несколькими днями после рождения.
Проконсультируйтесь с вашим врачом перед использованием Бувидала во время лактации, поскольку это лекарство выделяется в грудное молоко.
Вождение и использование машин
Возможно, что Бувидал вызовет сонливость и головокружение. Это более вероятно в начале лечения и при изменении дозы. Эти эффекты могут усугубиться, если вы принимаете алкоголь или другие седативные лекарства. Не управляйте транспортными средствами, не используйте инструменты или машины и не занимайтесь опасными hoạtностями, пока не узнаете, как это лекарство влияет на вас.
Бувидал содержит алкоголь
Бувидал 8 мг, 16 мг, 24 мг и 32 мг содержат 95,7 мг алкоголя (этанола) в каждом мл (10% п/п). Количество в одной дозе этого лекарства эквивалентно менее 2 мл пива или 1 мл вина. Небольшое количество алкоголя, содержащееся в этом лекарстве, не оказывает никакого заметного эффекта.
3. Как вводится Бувидал
Бувидал должен вводиться только медицинскими работниками.
Бувидал в дозировке 8 мг, 16 мг, 24 мг и 32 мг вводится один раз в неделю. Бувидал в дозировке 64 мг, 96 мг, 128 мг и 160 мг вводится один раз в месяц.
Ваш врач определит наиболее подходящую для вас дозу. Во время лечения ваш врач может корректировать дозу в зависимости от того, как вы реагируете на препарат.
Начало лечения
Первая доза Бувидала вводится при наличии явных симптомов абстиненции.
Если вы зависимы от короткодействующих опиоидов (например, морфина или героина), первая доза Бувидала вводится не менее чем через 6 часов после последнего приема опиоидов.
Если вы зависимы от длительнодействующих опиоидов (например, метадона), доза метадона должна быть снижена ниже 30 мг в день перед началом лечения Бувидалом. Первая доза этого препарата вводится не менее чем через 24 часа после последнего приема метадона.
Если вы не принимаете бупренорфин (активное вещество Бувидала) сублингвально (под язык), рекомендуемая начальная доза составляет 16 мг, с одной или двумя дополнительными дозами по 8 мг Бувидала, вводимыми с интервалом не менее одного дня в течение первой недели лечения. Это означает, что целевая доза в течение первой недели лечения составляет 24 мг или 32 мг.
Если вы ранее не принимали бупренорфин, вам будет назначена сублингвальная доза бупренорфина в размере 4 мг, и вас будут наблюдать в течение одного часа перед первой дозой Бувидала.
Месячное лечение Бувидалом можно использовать, если это показано для вас, после достижения стабилизации с помощью Бувидала в рамках еженедельного лечения (четыре недели лечения или более, когда это практически возможно).
Если вы уже принимаете сублингвальный бупренорфин, вы можете начать принимать Бувидал на следующий день после последнего лечения. Ваш врач назначит вам правильную начальную дозу Бувидала, исходя из дозы сублингвального бупренорфина, которую вы сейчас принимаете.
Продолжение лечения и корректировка дозы
Во время продолжения лечения Бувидалом ваш врач может увеличить или уменьшить вашу дозу в соответствии с вашими потребностями. Вас могут перевести с еженедельного лечения на ежемесячное и с ежемесячного на еженедельное. Ваш врач укажет вам правильную дозу.
Во время продолжения лечения возможно, что вам будет назначена дополнительная доза 8 мг Бувидала между еженедельными или ежемесячными лечениями, если ваш врач считает это необходимым для вас.
Максимальная доза в неделю при еженедельном лечении Бувидалом составляет 32 мг с дополнительной дозой 8 мг. Максимальная доза в месяц при ежемесячном лечении Бувидалом составляет 160 мг.
Способ введения
Бувидал вводится в виде единственной инъекции под кожу (подкожно) в любую из разрешенных зон введения: ягодицы, бедра, живот или руки. Вы можете получить несколько инъекций в одной и той же зоне, но точное место инъекции должно меняться для каждой еженедельной и ежемесячной инъекции с минимальным интервалом в 8 недель.
Если вы приняли больше Бувидала, чем следует
Если вы приняли больше бупренорфина, чем следует, немедленно обратитесь к врачу, поскольку это может привести к очень медленному и поверхностному дыханию, что может вызвать смерть.
Если вы приняли слишком много бупренорфина, немедленно обратитесь за медицинской помощью, поскольку передозировка может вызвать серьезные и потенциально смертельные проблемы с дыханием. Симптомы передозировки могут включать более медленное и слабое дыхание, чем обычно, чувство сонливости, тошноту, рвоту и/или трудности с речью. Также возможно уменьшение размера зрачков. Если вы испытываете чувство обморока, это может быть признаком низкого артериального давления.
Если вы пропустили дозу Бувидала
Очень важно посещать все назначенные встречи для получения Бувидала. Если вы не посетили встречу, спросите у врача, когда можно запланировать следующую дозу.
Если вы прекратите лечение Бувидалом
Не прекращайте лечение без консультации с врачом, который вас наблюдает. Прекращение лечения может вызвать симптомы абстиненции.
Если у вас есть другие вопросы о использовании этого препарата, спросите у врача.
4. Возможные побочные эффекты
Как и все препараты, этот препарат может вызывать побочные эффекты, хотя не все люди испытывают их.
Немедленно сообщите врачу или получите экстренную медицинскую помощь, если вы испытываете побочные эффекты, такие как:
- внезапные свистящие звуки, трудности с дыханием, отек век, лица, языка, губ, горла или рук; сыпь или зуд, особенно на всем теле. Это могут быть признаки потенциально смертельной аллергической реакции.
- если вы начинаете дышать более медленно или слабо, чем обычно (депрессия дыхания).
- если вы испытываете чувство обморока, поскольку это может быть признаком низкого артериального давления.
Также сообщите врачу немедленно, если вы испытываете побочные эффекты, такие как:
- сильная усталость, потеря аппетита или если кожа или глаза имеют желтоватый цвет. Это могут быть симптомы повреждения печени.
Другие побочные эффекты:
Очень частые побочные эффекты (которые могут возникать у более 1 из 10 человек):
- бессонница (трудности с засыпанием)
- головная боль
- тошнота
- потливость, абстиненция, боль
Частые побочные эффекты (которые могут возникать у до 1 из 10 человек):
- инфекция, грипп, боль в горле и трудности с глотанием, насморк
- воспаление лимфатических узлов
- чувствительность
- пониженный аппетит
- тревога, агитация, депрессия, враждебность, нервозность, аномальные мысли, паранойя
- сонливость, головокружение, мигрень, жжение или онемение в руках и ногах, обморок, тремор, повышение мышечного тонуса, расстройства речи
- слезотечение, аномальное увеличение или уменьшение размера зрачков (черной части глаза)
- сердцебиение
- низкое артериальное давление
- кашель, одышка, зевота, астма, бронхит
- запор, рвота (тошнота), боль в животе, метеоризм (газы), изжога, сухость во рту, диарея
- сыпь, зуд, крапивница
- суставная боль, боль в спине, мышечная боль, мышечные спазмы, боль в шее, боль в костях
- больная менструация
- реакции в месте инъекции, например, боль, зуд, покраснение кожи, отек и уплотнение кожи, отек лодыжек, ног или пальцев, слабость, общее недомогание, лихорадка, озноб, абстиненция у новорожденных, боль в груди
- анормальные результаты тестов печени
Редкие побочные эффекты (которые могут возникать у до 1 из 100 человек):
- инфекция кожи в месте инъекции
- чувство головокружения или вертиго
Частота неизвестна (не может быть оценена на основе доступных данных):
- галлюцинации, чувство счастья и возбуждения (эйфория)
- анормальное покраснение кожи
- боль или трудности с мочеиспусканием
- реакции в месте инъекции, например, открытые язвы, воспаленная область с накоплением гноя и смерть клеток или тканей в месте инъекции.
Сообщение о побочных эффектах
Если вы испытываете любой побочный эффект, проконсультируйтесь с врачом, даже если это возможные побочные эффекты, которые не перечислены в этом описании. Также вы можете сообщить об этом напрямую через систему фармаковигиланса для лекарственных средств для человека: https://www.motificaram.es. Сообщая о побочных эффектах, вы можете внести свой вклад в предоставление более полной информации о безопасности этого препарата.
5. Хранение Бувидала
Бувидал должен вводиться только медицинскими работниками. Пациентам не разрешается брать препарат домой или вводить его самостоятельно.
Храните этот препарат вне поля зрения и досягаемости детей.
Не используйте этот препарат после даты истечения срока годности, указанной на коробке или этикетке шприца после «CAD/EXP». Дата истечения срока годности - последний день месяца, указанного.
Не храните в холодильнике или не замораживайте.
Не используйте этот препарат, если вы заметили, что он содержит видимые частицы или является мутным.
Бувидал предназначен для одноразового использования. Все использованные шприцы должны быть утилизированы.
Лекарства не должны выбрасываться в канализацию или мусор. Спросите у фармацевта, как утилизировать упаковку и лекарства, которые вам больше не нужны. Таким образом, вы поможете защитить окружающую среду.
6. Содержимое упаковки и дополнительная информация
Состав Бувидала
- Активное вещество - бупренорфин
- Другие компоненты - соевый фосфатидилхолин, диолеат глицерина, безводный этанол (см. раздел 2 Бувидал содержит алкоголь) (только в еженедельной форме) и N-метилпирролидон (только в ежемесячной форме).
Доступны следующие шприцы:
Еженедельная инъекция:
8 мг: Предварительно заполненный шприц с 8 мг бупренорфина в 0,16 мл раствора
16 мг: Предварительно заполненный шприц с 16 мг бупренорфина в 0,32 мл раствора
24 мг: Предварительно заполненный шприц с 24 мг бупренорфина в 0,48 мл раствора
32 мг: Предварительно заполненный шприц с 32 мг бупренорфина в 0,64 мл раствора
Ежемесячная инъекция:
64 мг: Предварительно заполненный шприц с 64 мг бупренорфина в 0,18 мл раствора
96 мг: Предварительно заполненный шприц с 96 мг бупренорфина в 0,27 мл раствора
128 мг: Предварительно заполненный шприц с 128 мг бупренорфина в 0,36 мл раствора
160 мг: Предварительно заполненный шприц с 160 мг бупренорфина в 0,45 мл раствора
Внешний вид Бувидала и содержимое упаковки
Бувидал - это раствор для инъекции с длительным действием. Каждый предварительно заполненный шприц содержит прозрачную желтоватую жидкость.
Доступны следующие размеры упаковки:
Предварительно заполненные шприцы, содержащие 8 мг, 16 мг, 24 мг, 32 мг, 64 мг, 96 мг, 128 мг и 160 мг раствора для инъекции.
Каждая упаковка содержит 1 предварительно заполненный шприц с колпачком, иглой, защитным колпачком, устройством безопасности и 1 штангой поршня.
Владелец разрешения на маркетинг
Camurus AB
Ридбергсторг 4
SE-224 84 Лунд
Швеция
medicalinfo@camurus.com
Производитель
Rechon Life Science AB
Солдатторпсвеген 5
216 13 Лимхамн
Швеция
Дата последнего обзора этого описания: 07/03/2025
Подробная информация о этом препарате доступна на сайте Европейского агентства по лекарственным средствам: http://www.ema.europa.eu.
------------------------------------------------------------------------------------------------------------------------
Эта информация предназначена только для медицинских работников:
Инструкции по применению для медицинских работников
Содержимое:
- Важная информация
- Части шприца безопасности
- Введение
- Утилизация шприца
- Важная информация
- Введение должно осуществляться в подкожную жировую ткань. ТОЛЬКО.
- Не использовать, если шприц безопасности поврежден или упаковка повреждена.
- Защитный колпачок шприца безопасности может содержать латекс, который может вызвать аллергические реакции у людей с чувствительностью к латексу.
- Обращаться с шприцем безопасности осторожно, чтобы избежать уколов. Шприц безопасности включает в себя устройство безопасности для защиты от уколов, которое активируется в конце инъекции. Защитный колпачок поможет предотвратить травмы от уколов.
- Не снимать защитный колпачок шприца безопасности до тех пор, пока вы не будете готовы сделать инъекцию. Как только колпачок снят, никогда не пытайтесь снова надеть защитный колпачок.
- Утилизировать использованный шприц безопасности сразу после использования. Не повторно использовать шприц безопасности.
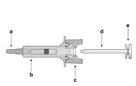
- Части шприца безопасности


Фигура1: | Шприц безопасности: До использованияа) защитный колпачок - поршень, е) головка поршня
| Шприц безопасности: После использования(С активированным механизмом защиты иглы) |
Обратите внимание, что меньший объем инъекции почти не виден в окне просмотра, поскольку пружина устройства безопасности «покрывает» часть стеклянного цилиндра, расположенного рядом с иглой. |
- НЕ ТРОГАЙТЕ ЗАЩИТНЫЕ КРЫЛЬЯ ШПРИЦА ДО ТЕХ ПОР, ПОКА ВЫ НЕ БУДЕТЕ ГОТОВЫ СДЕЛАТЬ ИНЪЕКЦИЮ. ПРИ КАСАНИИ КРЫЛЬЕВ ЗАЩИТНЫЙ КОЛПАЧОК МОЖЕТ АКТИВИРОВАТЬСЯ СЛИШКОМ РАНО.
- НЕ ИСПОЛЬЗУЙТЕ ПРОДУКТ, ЕСЛИ ОН УПАЛ НА ТВЕРДУЮ ПОВЕРХНОСТЬ ИЛИ ПОВРЕЖДЕН. ИСПОЛЬЗУЙТЕ НОВЫЙ ПРОДУКТ ДЛЯ ИНЪЕКЦИИ.
- Введение
- Удалите шприц из картонной коробки: возьмите шприц за защитный корпус.
- Держа шприц крепко за окно осмотра, вставьте штангу поршня в верхнюю часть поршня, повернув штангу поршня по часовой стрелке до тех пор, пока она не будет надежно закреплена (см. Фигуру 2).

- Осмотрите шприц безопасности внимательно:
- Не используйте шприц безопасности после даты истечения срока годности, указанной на коробке или этикетке шприца.
- Может быть видна небольшая пузырьковая пробка, что нормально.
- Жидкость должна быть прозрачной. Не используйте шприц безопасности, если жидкость содержит частицы или является мутной.
- Выберите место инъекции. Место инъекции должно меняться между ягодицами, бедрами, животом или руками (см. Фигуру 3), ожидая не менее 8 недель перед повторной инъекцией в ранее использованном месте. Следует избегать инъекций в области талии или на расстоянии менее 5 см от пупка.

Фигура3
- Наденьте перчатки и очистите место инъекции круговыми движениями, используя ватный шарик с алкоголем (не включен в упаковку). Не трогайте чистую зону снова перед инъекцией.
- Держа шприц безопасности за защитный корпус шприца, как показано (см. Фигуру 4), осторожно потяните защитный колпачок иглы. Утилизируйте защитный колпачок иглы сразу (не пытайтесь снова надеть колпачок на иглу). Возможно, на конце иглы будет небольшая капля жидкости. Это нормально.

Фигура4
- Зажмите кожу в месте инъекции между большим и указательным пальцами, как показано (см. Фигуру 5).
- Держите шприц безопасности, как показано, и осторожно введите иглу под углом 90 градусов, примерно (см. Фигуру 5). Нажмите иглу до тех пор, пока она не будет полностью введена.

Фигура5
- Держите шприц, как показано (см. Фигуру 6), и медленно нажмите на поршень до тех пор, пока головка не зафиксируется между защитными крыльями шприца и вся жидкость не будет введена.

Фигура6
- Осторожно удалите иглу из кожи. Рекомендуется держать поршень полностью нажатым, пока вы осторожно удаляете иглу из места инъекции (см. Фигуру 7).

Фигура7
- Как только игла будет удалена из кожи, медленно отпустите большой палец от поршня и позвольте защитному колпачку шприца автоматически покрыть открытую иглу (см. Фигуру 8). Возможно, в месте инъекции будет небольшое количество крови, если необходимо, очистите ее ватным шариком или марлей.

Фигура8
- Утилизация шприца
Утилизация непотребованного препарата и всех материалов, которые были в контакте с ним, должна осуществляться в соответствии с местными правилами.